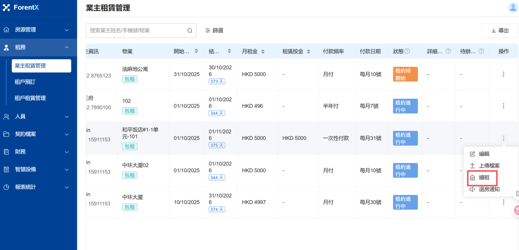
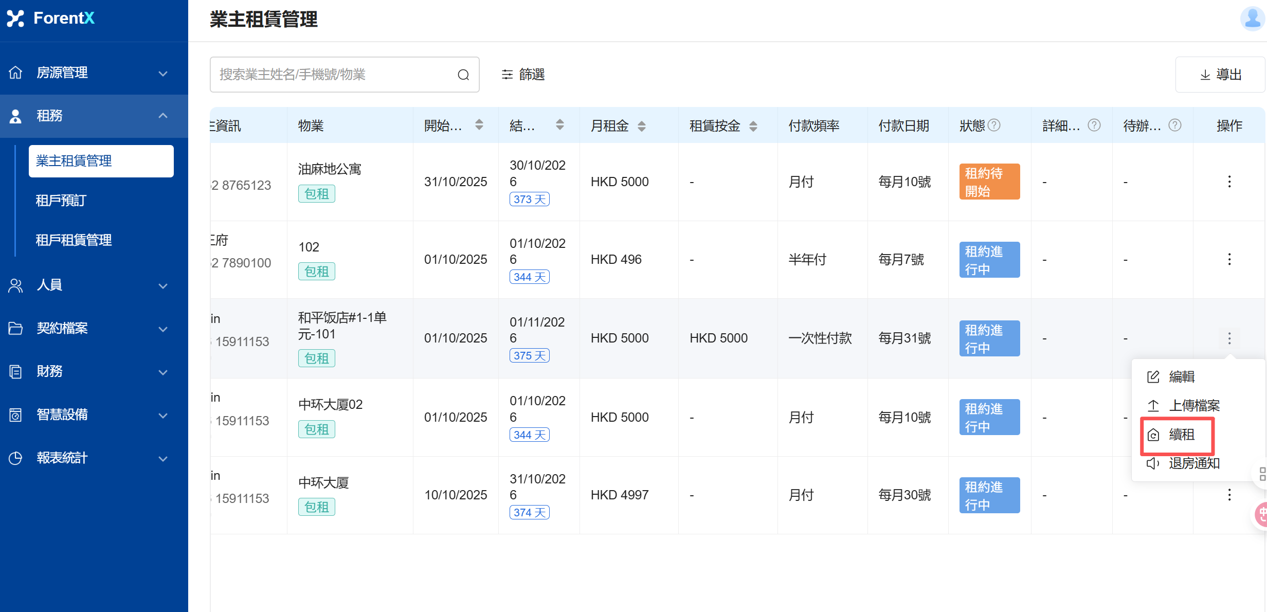
在【租務】——【租戶租賃管理】——【列表操作】或者【租戶詳情】——可點擊【續租】 需要完善新的【租賃結束日期】【付款頻率】【付款日期】【租金調整】,完成後會生成新的【訂單】,即完成【續租】
No comments to display
No comments to display
No comments to display